
在使用臥式螺旋篩網過濾離心機時,假如濾網及螺旋未調整好,會出現物料拉稀,處理不干凈,甚至無法生產的情況,下面就來說道下這方面的問題。
臥式螺旋篩網過濾離心機 在裝拆螺旋時一定要注意輕拿輕放,如若不當心,可能會造成濾網的損壞。在生產時可能造成跑料現象。這樣對產品的質量與機器的性能都會造成很壞的影響!
那么,臥式螺旋篩網過濾離心機 濾網與螺旋間隙的調整 如何達到更匹配呢?
臥式螺旋篩網過濾離心機 濾網與螺旋間隙選擇最小為轉鼓大端直徑的1/1000,只要在客觀情況允許下,是沒有危險的。當然針對各類不同的處理物料特性,間隙是可以加寬到原來的1.5到2倍,甚至以上。機器操作上的安全性不會受到削減,相反得到增加。當然間隙增加是有限度的,用戶需謹慎設定。
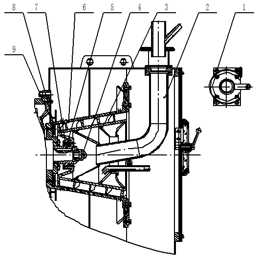
具體調整步驟如下:
擰下螺栓(1),卸下內進料管(2);
用專用工具(螺母扳手)卸下螺母(4);
用專用工具(拉碼)卸下螺旋(3)與轂(5);
擰下螺栓(7),分離螺旋(3)與轂(5);
在轂(5)A處(如圖)加墊圈調整螺旋(3)與濾網(6)的間隙;
按D→A順序安裝。
提示!1mm的墊圈約0.17mm(單面)的間隙。
如果要更換濾網時,則按以下順序操作:
按上順序A→C的操作過程;
擰下螺栓(10);
卸下濾網內壓圈(9);
取下濾網(6);
安裝濾網(6);
裝上濾網內壓圈(9);
擰上螺栓(10);
按上所述C→A安裝。
假如還是無法將臥式螺旋篩網過濾離心機濾網與螺旋間歇調的更匹配,請聯系江蘇大周過濾科技有限公司徐工: 18362218699,詳細為您解答困惑。
歡迎來電討論您所遇到的固液分離問題,上千案例可供您參考!